后路侧弯矫形植骨融合内固定术
患者麻醉完成后,俯卧位,后正中切口,,显露T2- L3棘突及椎板。在左侧与,右侧治疗部位植入椎弓根钉。

X光机下透视,见位置良好。双侧下关节突凿除,彻底切除关节囊及韧带,达到松解脊柱和造成植骨面的目的,切除部分椎板行截骨。

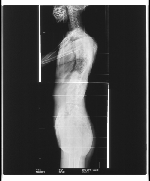
脊柱侧弯术前

脊柱侧弯术前
使用平移技术安装内固定系统,X光机下透视,见位置良好,矫形满意。安装横联,冲洗、探查无活动性出血,无异物残留。将取下的棘突剪碎后复合异体骨颗粒植入各关节突部位。

脊柱侧弯术后检查

脊柱侧弯术后检查
术后神经诱发电位检测术中病人脊髓信号平稳无变化,术后安全返回病房。
术后一年回访,患者状态良好,定期复查。